企业信息 经营范围

公司名称:东莞市嘉值电子科技有限公司

法人代表:高丽

注册地址:东莞市长安镇上沙社区第六工业区华丽路2号8楼803室

所属行业:批发业

更多行业:其他机械设备及电子产品批发,机械设备、五金产品及电子产品批发,批发业,批发和零售业

经营范围:研发、销售:电子元器件、电子产品。(依法须经批准的项目,经相关部门批准后方可开展经营活动)〓

联系我们

电话:1533889**

地址:东莞市长安镇上沙社区第六工业区华丽路2号8楼803室

网址:www.elitekcorptw.com

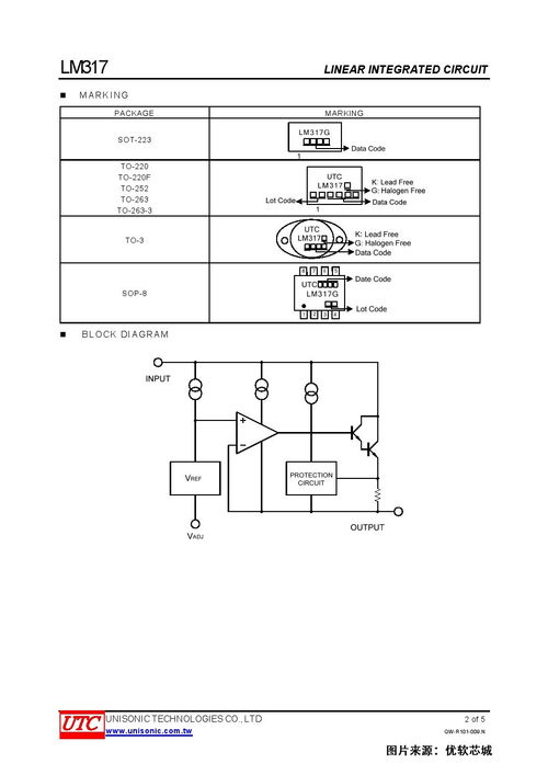
电子元器件实物图与电路符号一览大全
更新时间:2026-04-18 07:23:12

访客留言